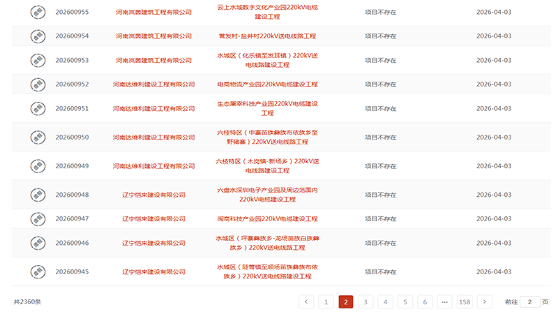
4月3日,住建部在全国建筑市场监管公共服务平台(四库一平台)发布重磅标注:单日集中核查标记38条虚假业绩,且全部集中在同一区域——贵州六盘水六枝特区、水城区,清一色为220kV电力配套项目,均由外地企业虚构,专门用于资质申报。这一罕见集中造假被精准“一锅端”,再次向全行业敲响警钟:业绩造假无处遁形,四库一平台之下,再无监管盲区。
电力工程尤其是220kV配套项目,属于技术门槛高、监管链条严的领域,从立项、施工、监理到竣工验收、备案入库,每一步都有完整档案与数据留痕,本就难以造假。部分外地企业偏偏心存侥幸,认为“偏远地区项目难核查、冷门领域易蒙混”,集中批量虚构六盘水电力项目,试图用“纸上业绩”冲资质、抢市场。
但他们低估了四库一平台的大数据威力。如今平台已实现全国项目信息互联互通、跨地区跨部门自动比对,项目是否真实存在、建设单位与施工单位是否匹配、规模与竣工信息是否一致,系统均可一键核验。住建部依托数字化监管,仅用一天就将38条虚假业绩全部锁定、公开标注,造假行为瞬间原形毕露。

此次集中标注绝非偶然,而是住建部“清虚打假”常态化的典型一幕。近年来,虚假业绩已成为资质监管的重点打击对象,从厂房、市政到电力、光伏,各类造假行为均被全面围剿。尤其电力工程资质升级对业绩要求高、门槛严,更成为部分企业铤而走险的重灾区,而住建部的打击力度也同步升级,发现一起、标注一起、惩戒一起,绝不姑息。
对涉事企业而言,38条虚假业绩被标注,代价极为惨重。首先,这些业绩永久失效,无法用于任何资质新办、升级、增项,前期造假投入全部打水漂。其次,企业被纳入重点监管名单,后续所有资质业务、招投标活动均被从严审核,一处造假、处处受限。更严重的是,依据《建筑业企业资质管理规定》,提供虚假业绩骗取资质的企业,将面临撤销资质、3年内不得再次申请的顶格处罚,直接失去市场准入资格。
除此之外,虚假业绩记录会在四库一平台长期公示,业主、招标方、金融机构均可查询,企业信用彻底破产,不仅失去投标机会,合作、融资等经营环节全面受阻。情节严重的,相关责任人还会被追责,真正实现“企业受罚、个人担责”,让造假者付出沉重代价。

这起集中造假案,也彻底戳破了三大侥幸误区。一是“偏远地区查不到”,四库一平台全国联网,无论项目地处何处,数据均可跨区域核验,地域不再是保护伞。二是“冷门领域难识别”,电力、输变电等专业领域有明确标准与档案,系统精准匹配指标,造假手段一眼看穿。三是“集中造假不被发现”,批量虚构同一区域同类项目,反而更容易触发系统预警,被集中精准打击。
住建部单日标注38条虚假业绩,释放出最明确的监管信号:业绩真实是不可触碰的红线,资质监管只会更严、更细、更精准。从业绩可查、人员合规到社保一致,建筑行业已全面进入“真业绩、真人员、真能力”的高质量发展阶段,靠虚构业绩、投机取巧的时代彻底终结。
对于所有建筑企业来说,这是一次深刻警示。必须立即开展业绩全面自查,清理虚假、存疑记录,规范项目备案流程,确保每一条业绩真实可核、经得起核查。同时彻底摒弃造假思路,脚踏实地做项目、积累真实业绩,以诚信合规立足市场,这才是长久发展之道。
阳光智建深耕建筑行业合规服务,依托四库一平台权威数据,提供业绩核验、合规诊断一站式解决方案,助力企业快速排查虚假业绩风险、规范业绩管理,远离监管惩戒,稳健合规发展。

小程序
抖音
服务号
视频号
陕公网安备61011202001113号
扫一扫咨询微信客服